PTFE Shaft Seal WN1
PTFE shaft seal, with two sealing lips, for higher pressures.
Application Range
Pressure: ≤ 30 bar
Temperature: -20 °C / +250 °C
Sliding Speed: ≤ 2 m/s
Standard Material: PTFE-comp.
Other materials are available for very high or very low operating temperatures. For detailled information, please look at the specific PDF catalogue or contact our application engineers.
Load product catalogAre you missing materials or dimensions?
Feel free to contact us!
Our sealing experts will be happy to advise you!
Filter
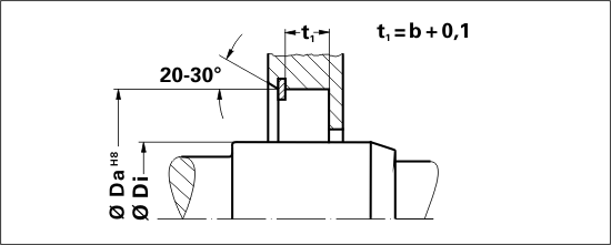
| Di [mm] | Da [mm] | b [mm] | |
|---|---|---|---|
| Min: | |||
| Max: |
| Material selection | |
|---|---|
| Material: | |
| Material No. |
| Profile | Di [mm] | Da [mm] | b [mm] | Material | Mat. No. | V | Quantity |
|---|