Wiper 1A8
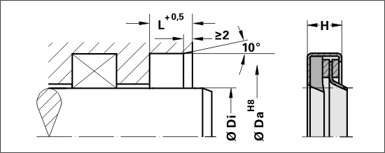
The wiper 1A8 is particularly suitable for applications in which stubborn adhering dirt, ice and sludge must be reliably wiped off. Due to its metal cage that is firmly attached to bothlips - the elastomer part and scraper lip made of brass - it is particularly suitable for applications where a tight fit in an open housing is required.Design: The scraper has two different scraper lips. A thin wiper lip made of brass and an elastic lip made of NBR. The metallic wiperlip has the task of removing firmly adhering impurities and ice particles. The secondary lip made of elastomer material has a supporting effect by reliably wiping off water, sand particles and similar foreign substances. Both lips are arranged in tandem one after another in a compact metal housing.
Application Range
Temperature: -40 °C / +100 °C
Sliding Speed: ≤ 1 m/s
Standard Material: NBR
Other materials are available for very high or very low operating temperatures. For detailled information, please look at the specific PDF catalogue or contact our application engineers.
Load product catalogAre you missing materials or dimensions?
Feel free to contact us!
Our sealing experts will be happy to advise you!
Filter
| Di [mm] | Da [mm] | L [mm] | H [mm] | |
|---|---|---|---|---|
| Min: | ||||
| Max: |
| Material selection | |
|---|---|
| Material: | |
| Material No. |
| Profile | Di [mm] | Da [mm] | L [mm] | H [mm] | Material | Mat. No. | V | Quantity |
|---|